东莞市正航仪器设备有限公司主营: 冷热冲击试验箱、 高低温温冲击试验机、 高低温冲击箱等产品!
咨询服务热线:400-822-8565 网站地图 生产实力
专注可靠环境试验设备的研发、生产、销售高新技术企业
热门关键词: 冷热冲击试验箱、 高低温冲击试验箱、 小型高低温试验箱
2015-06
正航仪器介绍预应力隔热油管
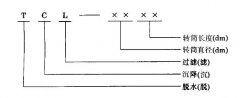
正航技术编辑过滤机应符合本标准的要求
正航仪器整理容积式压缩机涂漆技术条件
正航仪器整理机械无级变速器试验方法
正航技术编辑拖拉机制动系统试验方法和程序
电话
15899697899
微信
加微信好友
邮箱
zhenghang@vip.126.com
回顶